手機:13827297626
電話:13827297626
郵箱:435281082@qq.com
地址:廣東省東莞市樟木頭鎮圩鎮荔苑路7號星耀國際
發布時間:2021-04-27 點此:4002次
滾珠開關本質上是利用導電珠子在重力或磁力等力的作用下,通過滾動來觸碰電路的兩端,進而實現電路的導通與斷開。通過內部精密結構的控制,配合電路,可以實現感應角度,力度,方向等作用。

滾珠開關是一種機械式的感應開關,如果通過滾珠開關來識別角度,在精度上是比不了MEMS類的高精度角度傳感器的,但是其優點在于省電,微型,性價比高等,在日常生活類電子產品中有良好的應用。根據滾珠開關的安裝類型,可以分為:貼片式滾珠開關、插腳式滾珠開關。貼片式因其良好的適配SMD工藝,現在應用越來越廣泛。

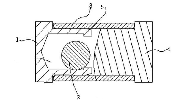
1:金屬座 2:金屬滾珠 3:絕緣體 4:金屬塞 5:限制器
貼片式傾斜滾珠開關,水平放置呈常開狀態(電路處于斷開狀態)傾斜滾珠開關水平時,金屬滾珠被限位臺階限位而完全置于凹槽形容腔內,金屬滾珠與導電凸點不接觸,傾斜滾珠開關處于斷開狀態。傾斜滾珠開關傾斜時,金屬滾珠根據傾斜的角度要求從凹槽形容腔中滾動露出與導電凸點接觸,傾斜滾珠傳感開關處于導通狀態,起到觸發電路的功能,滿足使用需要。滾珠開關輸出簡單的ON、OFF信號,能夠在許多場景中進行的應用。如在智能手表中智能亮屏,在手表傾斜到一定角度后,屏幕點亮。
上一篇:10*10五向輕觸開關
下一篇:超聲波電動牙刷輕觸開關開發方案
相關推薦